Question 4
Fig. 3 shows the first angle orthographic projection of a bracket.
Draw, full size, the isometric view of the bracket, making Y the lowest point.
Observation
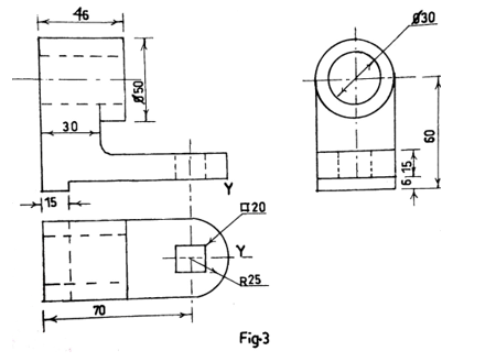
Question 4
Fig. 3 shows the first angle orthographic projection of a bracket.
Draw, full size, the isometric view of the bracket, making Y the lowest point.