Question 2
- State:
- the function of the starting system in a motor vehicle;
- one type of starter motor.
- (i) Table 2 contains the main components of a starting system. Complete it by stating one function of each component.
Table 2
S/N |
Component |
Function in the system |
I |
Ignition switch |
|
II |
Starter solenoid |
|
III |
Starter motor |
|
IV |
Battery |
|
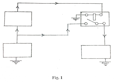
- Fig. 1 represents the block diagram of a starting system. Label its blocks appropriately using the components listed in Table 2.

The expected responses were:
- (i) Function of the starting system in a motor vehicle
- to crank the engine
(ii) Type of starter motor
- inertia starter motor
- pre-engaged starter motor
(b) (i) Table 2
S/N |
Component |
Function in the system |
I |
Ignition switch |
Closes the circuit to enable current flow from battery to solenoid |
II |
Starter solenoid |
Moves the starter pinion into engagement into ring gear |
III |
Starter motor |
Converts electrical energy to mechanical energy |
1V |
Battery |
Store chemical energy |
(ii) Figure 1
Question 2 basically required candidates show good understanding of the principle of operation of a starter motor. The report by the Chief Examiner indicated that majority of the candidates could not respond well to tasks especially the table and the diagram.
